Ovale 1955
- oldschool21
 - Membres confirmés
 - Messages : 376
 - Enregistré le : 01 avr. 2009, 13:07
 - Votre German : Ovale de 55
 - Moteur : 2276cc type 1
En préparation un 1999cc - Localisation : Strasbourg
 - Contact :
 
Re: Ovale 1955
Bien remarqué!  
			
			
									
						
										
						- 
				garth
 - Membres confirmés
 - Messages : 112
 - Enregistré le : 22 avr. 2011, 21:18
 - Votre German : Pas de german
1300 de 72 vieillie - Moteur : 2007cc type 1
 - Localisation : Picardie
 - Contact :
 
Re: Ovale 1955
si tu detail tout le montage de la boite comme ça c'est parfait   
 
il vont bien les outils vw
vite la suite
			
			
									
						
										
						il vont bien les outils vw
vite la suite
- oldschool21
 - Membres confirmés
 - Messages : 376
 - Enregistré le : 01 avr. 2009, 13:07
 - Votre German : Ovale de 55
 - Moteur : 2276cc type 1
En préparation un 1999cc - Localisation : Strasbourg
 - Contact :
 
Re: Ovale 1955
Je vais faire de mon mieux!
Petite question: Est-ce que le jeu entre fourchette et baladeur indiqué à 0.3mm maxi dans la RTA n'est pas un peu faible??
Car j'ai démonté déjà 3 boites de vitesses et les ensembles baladeurs/fourchettes ont tous un jeu entre 0.4 et 0.5mm...
			
			
									
						
										
						Petite question: Est-ce que le jeu entre fourchette et baladeur indiqué à 0.3mm maxi dans la RTA n'est pas un peu faible??
Car j'ai démonté déjà 3 boites de vitesses et les ensembles baladeurs/fourchettes ont tous un jeu entre 0.4 et 0.5mm...
- seb12
 - Membres confirmés
 - Messages : 351
 - Enregistré le : 21 sept. 2013, 22:49
 - Votre German : notch 1962
 - Moteur : EJ20 TURBO
 - Localisation : RODEZ 12
 
Re: Ovale 1955
Salut oldschool , 
je suis en train de remonter ma boite est j ai 0,4 au maxi et je laisse comme ça .
			
			
									
						
										
						je suis en train de remonter ma boite est j ai 0,4 au maxi et je laisse comme ça .
- oldschool21
 - Membres confirmés
 - Messages : 376
 - Enregistré le : 01 avr. 2009, 13:07
 - Votre German : Ovale de 55
 - Moteur : 2276cc type 1
En préparation un 1999cc - Localisation : Strasbourg
 - Contact :
 
Re: Ovale 1955
0,4mm ca parait être un bon compromis vu la rareté à en trouver en bon état!
Sinon vous avez une idée pour une très bonne huile de boite?
			
			
									
						
										
						Sinon vous avez une idée pour une très bonne huile de boite?
- oldschool21
 - Membres confirmés
 - Messages : 376
 - Enregistré le : 01 avr. 2009, 13:07
 - Votre German : Ovale de 55
 - Moteur : 2276cc type 1
En préparation un 1999cc - Localisation : Strasbourg
 - Contact :
 
Re: Ovale 1955
Peu de news en ce moment sur l'ovale mais je roule avec pour aller au taf!
Changement du pédalier à roulette par un plus récent et c'est tout mais c'est mieux!
			
			
									
						
										
						Changement du pédalier à roulette par un plus récent et c'est tout mais c'est mieux!
- oldschool21
 - Membres confirmés
 - Messages : 376
 - Enregistré le : 01 avr. 2009, 13:07
 - Votre German : Ovale de 55
 - Moteur : 2276cc type 1
En préparation un 1999cc - Localisation : Strasbourg
 - Contact :
 
Re: Ovale 1955
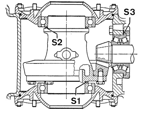
2ème step de la boite après le calage de l'arbre secondaire (S3): Réglage du différentiel !
Il faut pour cela trouver les bonnes épaisseurs des cales S1 et S2 : 3 paramètres sont à déterminer : la longueur du logement disponible dans la boite (J), la longueur du diff (L) ainsi que sa position pour obtenir le bon jeu entredents (C).
La longueur du logement disponible dans la boite se mesure toujours avec l’outil vw289d monté entre les deux flasques serrés au couple : On tourne la boite de 180° et le calibre vient se plaquer contre l’autre roulement, on mesure donc directement le jeu entre le calibre VW et les roulements : Ici on a donc J = 107.91(inscrit sur le calibre VW) + 1.86 soit J = 109.77mm
Ensuite vient la mesure de la longueur du diff, une mesure au pied à coulisse étant impossible et n’ayant pas palmer de cette taille je décide donc de fabriquer un gabarit de mesure sur le même principe que l’outil VW 287a à partir d’une plaque rectifiée : Comparateur à zéro avec une cale étalon à 100mm : Puis lecture de l’écart avec le comparateur : Dans mon cas la longueur du diff est de L=102.90mm
Dernière étape réglage du jeu entredents, rectification d’une cale fine S1 à placer du côté gauche du diff (dans mon cas la cale fait 2.76mm d’épaisseur: Montage du diff avec l’outil vw297 (sans cale S2) : On monte les deux comparateurs (le blanc pour le positionnement axial du diff, le bleu pour la mesure du jeu sur flancs) , on règle les comparateurs à zéro lorsque le diff est en position reculé au max à gauche (jeu d’entredents maxi) : Avec la manivelle j’avance doucement le différentiel de manière à obtenir un jeu sur flancs de 0.2 à 0.22mm (RTA VW) : On mesure le déplacement axial sur le deuxième comparateur, ici C = 0.69mm : Toutes les mesures sont faites, on a enfin S1 et S2 :
S1 = épaisseur cale fine + déplacement axial C
S1 = 2.76+0.69
S1 = 3.45mm
S2 = J-L-S1 = 109.77-102.90-3.45
S2 = 3.42mm
J’ajoute sur ces 2 valeurs +0.07mm pour la précontrainte des roulements (valeur donnée par la RTA) :
S1 = 3.52mm
S2 = 3.49mm
Prochaine étape rectifications des cales pour vérification finale !
			
			
													Il faut pour cela trouver les bonnes épaisseurs des cales S1 et S2 : 3 paramètres sont à déterminer : la longueur du logement disponible dans la boite (J), la longueur du diff (L) ainsi que sa position pour obtenir le bon jeu entredents (C).
La longueur du logement disponible dans la boite se mesure toujours avec l’outil vw289d monté entre les deux flasques serrés au couple : On tourne la boite de 180° et le calibre vient se plaquer contre l’autre roulement, on mesure donc directement le jeu entre le calibre VW et les roulements : Ici on a donc J = 107.91(inscrit sur le calibre VW) + 1.86 soit J = 109.77mm
Ensuite vient la mesure de la longueur du diff, une mesure au pied à coulisse étant impossible et n’ayant pas palmer de cette taille je décide donc de fabriquer un gabarit de mesure sur le même principe que l’outil VW 287a à partir d’une plaque rectifiée : Comparateur à zéro avec une cale étalon à 100mm : Puis lecture de l’écart avec le comparateur : Dans mon cas la longueur du diff est de L=102.90mm
Dernière étape réglage du jeu entredents, rectification d’une cale fine S1 à placer du côté gauche du diff (dans mon cas la cale fait 2.76mm d’épaisseur: Montage du diff avec l’outil vw297 (sans cale S2) : On monte les deux comparateurs (le blanc pour le positionnement axial du diff, le bleu pour la mesure du jeu sur flancs) , on règle les comparateurs à zéro lorsque le diff est en position reculé au max à gauche (jeu d’entredents maxi) : Avec la manivelle j’avance doucement le différentiel de manière à obtenir un jeu sur flancs de 0.2 à 0.22mm (RTA VW) : On mesure le déplacement axial sur le deuxième comparateur, ici C = 0.69mm : Toutes les mesures sont faites, on a enfin S1 et S2 :
S1 = épaisseur cale fine + déplacement axial C
S1 = 2.76+0.69
S1 = 3.45mm
S2 = J-L-S1 = 109.77-102.90-3.45
S2 = 3.42mm
J’ajoute sur ces 2 valeurs +0.07mm pour la précontrainte des roulements (valeur donnée par la RTA) :
S1 = 3.52mm
S2 = 3.49mm
Prochaine étape rectifications des cales pour vérification finale !
					Modifié en dernier par oldschool21 le 24 mars 2014, 23:55, modifié 1 fois.
									
			
						
										
						- Benoit
 - Admin
 - Messages : 6124
 - Enregistré le : 14 sept. 2007, 00:21
 - Votre German : Cox 1200 de 74
Bay Window de 78 - Moteur : Combi EJ25. Cox EJ20G
 - Localisation : 74
 
Re: Ovale 1955
Put1, ça c'est du boulot comme j'aime  
			
			
									
						
										
						- Superflo
 - Membres confirmés
 - Messages : 2668
 - Enregistré le : 01 oct. 2007, 20:55
 - Votre German : 1303 de 75 evo8
 - Moteur : 2806cc T4 EFI
 - Localisation : 01 et 94
 
Re: Ovale 1955
Le montage d'une boite vw enfin détaillé avec beaucoup de photos, c'est top!
Tu ne mets pas de flasques alu de diff?
			
			
									
						
										
						Tu ne mets pas de flasques alu de diff?
- oldschool21
 - Membres confirmés
 - Messages : 376
 - Enregistré le : 01 avr. 2009, 13:07
 - Votre German : Ovale de 55
 - Moteur : 2276cc type 1
En préparation un 1999cc - Localisation : Strasbourg
 - Contact :
 
Re: Ovale 1955
Pour le moment la boite sera faite pour faire de la "traction linéaire", pas de DA en gros. Aujourd'hui ma 8x35 est stock (5000km avec le 2.3l), j'ai déjà cassé de la boite VW mais c’était à chaque fois aux démarrages...
Dans le futur il y aura une upgrade diff + flasques alu + trompettes renforcés mais on va déjà essayer de faire marcher la boite 5 comme ça!
			
			
									
						
										
						Dans le futur il y aura une upgrade diff + flasques alu + trompettes renforcés mais on va déjà essayer de faire marcher la boite 5 comme ça!
- oldschool21
 - Membres confirmés
 - Messages : 376
 - Enregistré le : 01 avr. 2009, 13:07
 - Votre German : Ovale de 55
 - Moteur : 2276cc type 1
En préparation un 1999cc - Localisation : Strasbourg
 - Contact :
 
Re: Ovale 1955
Les cales S1 et S2 sont rectifiées!
Donc remontage du diff pour contrôle finale du jeu sur flancs:
jeu sur flancs de 0.21mm; la RTA indique une tolérance comprise entre 0.15 et 0.25mm donc c'est OK! Différentes mesures sur tout le tour de la couronne nous donne une variation de ±0.01mm pour un 0.05maxi
Petite vérification de la précontrainte des roulements en desserrant un flasque, une cale de 0.1mm passe "gras", les mesures avec l’outillage étaient donc correctes, ouf!! Ce weekend contrôle de l'ensemble au bleu de Prusse!
			
			
									
						
										
						Petite vérification de la précontrainte des roulements en desserrant un flasque, une cale de 0.1mm passe "gras", les mesures avec l’outillage étaient donc correctes, ouf!! Ce weekend contrôle de l'ensemble au bleu de Prusse!
- oldschool21
 - Membres confirmés
 - Messages : 376
 - Enregistré le : 01 avr. 2009, 13:07
 - Votre German : Ovale de 55
 - Moteur : 2276cc type 1
En préparation un 1999cc - Localisation : Strasbourg
 - Contact :
 
Re: Ovale 1955
Verdict du test au bleu de Prusse, les dents du pignon sont bien marqué et assez en avant:
La couronne est elle aussi bien marquée, plus vers le centre du diff ce qui est je crois plutôt bon (l'extérieur de la couronne est moins marquée, le bleu n'est pas écrasé, j'ai mis un peu trop de bleu sur le pignon):
Bref ça m'a l'air d'être pas si mal
			
			
									
						
										
						- tor66
 - Membres confirmés
 - Messages : 561
 - Enregistré le : 25 janv. 2010, 20:07
 - Votre German : T2b de 1976
 - Moteur : EJ 253
 - Localisation : Perpignan le pays du soleil
 
Re: Ovale 1955
respect pour ce taf...même avec toutes les explications et photos, ben, j'comprends rien  
  
 
 
			
			
									
						
										
						- white lady
 - Membres confirmés
 - Messages : 2353
 - Enregistré le : 19 juin 2009, 20:37
 - Votre German : 1302 de 72 en version moins puzzle
 - Moteur : Type IV on progress
 - Localisation : oise pour le boulot et l'allier quand je peux
 - Contact :
 
Re: Ovale 1955
Si y as bien un truc dans lequel je me lancerais pas c est bien ça !!!
Bravo Guillaume
			
			
									
						
										
						Bravo Guillaume
- oldschool21
 - Membres confirmés
 - Messages : 376
 - Enregistré le : 01 avr. 2009, 13:07
 - Votre German : Ovale de 55
 - Moteur : 2276cc type 1
En préparation un 1999cc - Localisation : Strasbourg
 - Contact :
 
Re: Ovale 1955
Bon il est temps de finir cette boite!
La suite montage des pignons sur l'arbre secondaire, montage du pignon de première avec les aiguilles Berg: Montage moyeu baladeur et réglage du jeu de la première: Baladeur et synchros neuves: Puis pignons de 2 et de 3 toujours avec les aiguilles Berg:
			
			
													La suite montage des pignons sur l'arbre secondaire, montage du pignon de première avec les aiguilles Berg: Montage moyeu baladeur et réglage du jeu de la première: Baladeur et synchros neuves: Puis pignons de 2 et de 3 toujours avec les aiguilles Berg:
					Modifié en dernier par oldschool21 le 02 sept. 2014, 09:38, modifié 1 fois.
									
			
						
										
						Qui est en ligne
Utilisateurs parcourant ce forum : Aucun utilisateur enregistré et 4 invités